fbpx

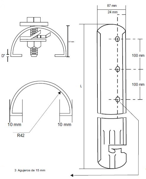
CANALETA GUARDACABLE RECTA

MEDIDAS Y CARACTERÍSTICAS TÉCNICAS

Valoraciones

No hay valoraciones aún.

Sé el primero en valorar “CANALETA GUARDACABLE RECTA”

Tu dirección de correo electrónico no será publicada. Los campos obligatorios están marcados con *

¿Necesita ayuda? Chatea con nosotros
Scroll to Top
Ir arriba