fbpx

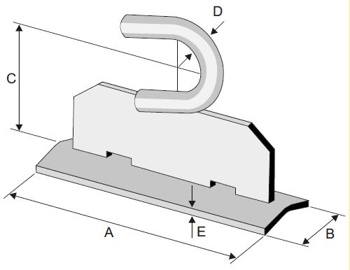
PLANCHA O GANCHO BANDA

MEDIDAS

Valoraciones

No hay valoraciones aún.

Sé el primero en valorar “PLANCHA O GANCHO BANDA”

Tu dirección de correo electrónico no será publicada. Los campos obligatorios están marcados con *

¿Necesita ayuda? Chatea con nosotros
Scroll to Top
Ir arriba